Welcome!

There are multiple hives and plans with the same basic name here. Use the search bar at the top left of this page if you do not see exactly what you want and came here by a search engine. Use the "Older Posts" hyperlink at bottom for more hives. For a larger photo, click on the photo. Got Small Hive Beetles? Use the traps in our Build It Yourself section and get the upper hand.

If this site was helpful, please support it. Make a donation today so we can continue to bring you information and more.




January 27, 2010

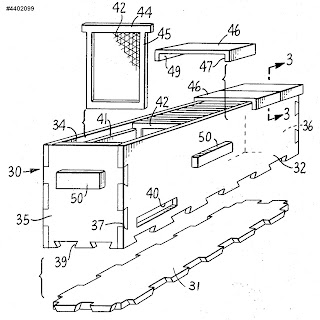
Platt Beehive

blog comments powered by Disqus